登录
注册
中国政府网
新疆政府网
首 页
新闻中心
政府信息公开
政务服务
政民互动
魅力且末
专题专栏
当前位置:
首页
/
政府信息公开
/
法定主动公开内容
/
重点领域信息公开
/
社会救助
索引号
770374340/2023-00385
公开信息来源
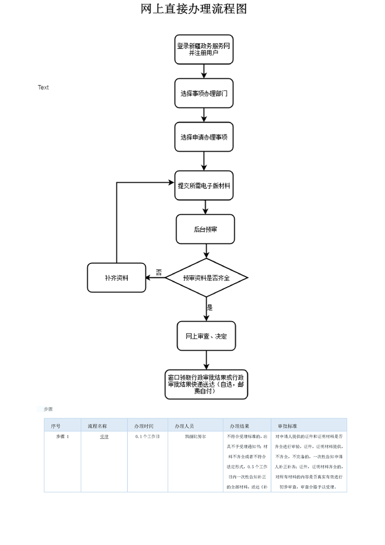
公开募捐资格审核-办事指南
发布日期:2023-07-28 12:50
来源:
打印
字体:【
大
中
小
】
微博
微信
关联稿件: